Original Band Board
Patent File
Abstract
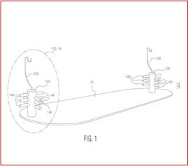
An exercise device, which facilitates use of elastic bands, includes (a) a substantially planar base member configured to lay or be mounted on the floor, mounted on a wall or mounted on another piece of exercise apparatus; (b) at least one elongate upstanding post member affixed to the base member and extending substantially perpendicular to it; and (c) at least two elongate bars affixed to the post member and extending substantially parallel to each other and to the base member. The device, so configured, allows one or more exercise bands to be wrapped about the bars for quick and easy attachment to the fixed object (floor, wall or other device) to permit exercise with such bands.
Manufacturing process
Manufacturing processes for biotherapeutics and vaccines require efficient cleaning, sanitization, and sterilization procedures to guarantee product safety. Such procedures are an integrated part of all steps of manufacturing and should be validated for their efficacy. Cleaning and sanitization chemicals need to be effective in removing contaminants and should exhibit robust kill kinetics for microorganisms. At the same time they should be compatible with consumables and wetted materials in hardware systems and columns.
packaging design
Packaging design involves the design and creation of a product’s container and how it looks to consumers who might purchase it. …
Not only does packaging design promote a product, it also serves to help protect and prolong the contents as well.
Website Designing
Good websites get applause.
Great websites get business.
Don’t let your website be just another URL on the web. We can help it be a powerful marketing medium to attract prospective customers.
Quality Control Visit
Quality Control (QC) is the process of ensuring that the quality of a product or service has met certain predetermined standards. … Because it takes place after a product has been developed it often involves activities such as inspection or testing.




