Flexible Wire Holder










Flexible Wire Holder
- Gabriel CALIENDO
- Patent Pending
Abstract
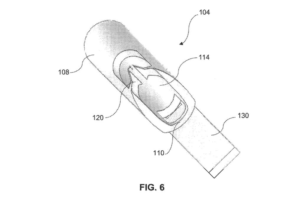
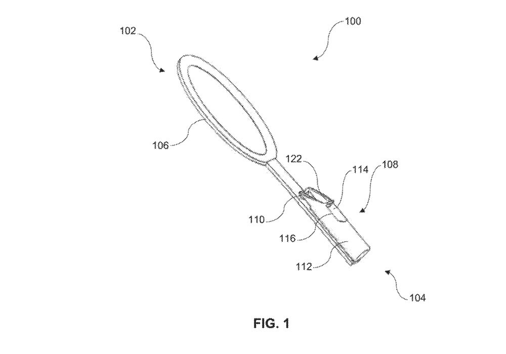
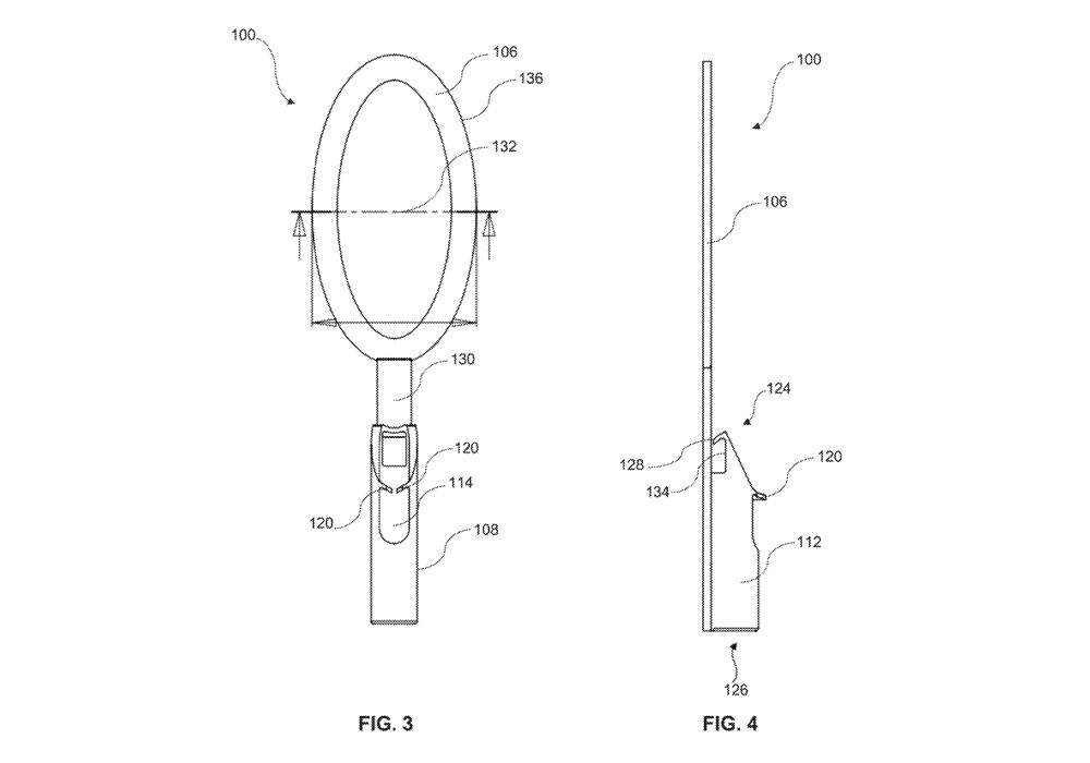
A flexible wire holder for use with a fish tape includes a lead end for attachment to the fish tape. The lead end includes an oblong loop. The flexible wire holder includes a trail end with a fastener that is engageable with an adjacent wire holder and a separate or integral wire sheath.

Inquiry From
Contact Info
Address: C Building, Orico Power Industrial Park, No.24 Tangjiao Road, Changping Town, Dongguan City, Guangdong Province, 523578,China
Email: Info@patent2poduct.com
Phone: +1 000 000 0000
Detailed Description & Features
A flexible wire holder for use with a fish tape includes a lead end for attachment to the fish tape. The lead end includes an oblong loop. The flexible wire holder includes a trail end with a fastener that is engageable with an adjacent wire holder and a separate or integral wire sheath.