Flowerpot Moving Device








Flowerpot Moving Device
- Thomas Strickland
- Patent Pending
Abstract
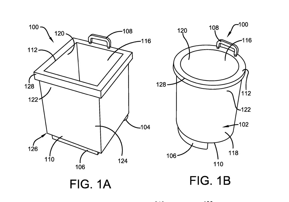
A flowerpot moving device that allows for the moving of large flowerpots quickly and with ease. The flowerpot moving device comprises a body component that is configured as the flowerpot with a base portion and an upper perimeter portion. The body component comprises a set of wheels on one side of the base portion and a rubber stabilizing bar on the opposite side of the base portion.

Inquiry From
Contact Info
Phone: +1 000 000 0000
Detailed Description & Features
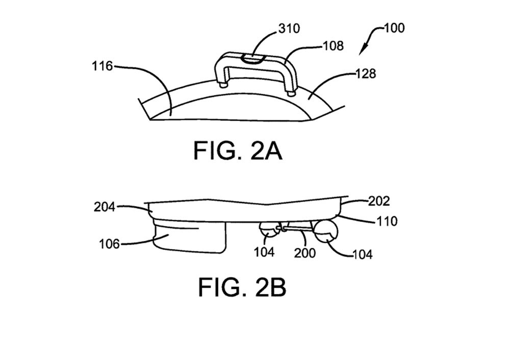
A flowerpot moving device that allows for the moving of large flowerpots quickly and with ease. The flowerpot moving device comprises a body component that is configured as the flowerpot with a base portion and an upper perimeter portion. The body component comprises a set of wheels on one side of the base portion and a rubber stabilizing bar on the opposite side of the base portion. Further, the body component comprises a telescoping handle on the upper perimeter portion, that extends out and locks into place when the user is ready to move the flowerpot. Once the flowerpot has been moved, a button on the handle is pushed, which will retract the handle back down. Thus, users can transport their flowerpots to and from any location with minimal physical effort required.