Light Up Backpack Device








Light Up Backpack Device
- Michael Ryan
- Patent Pending
Abstract
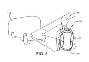
A light up backpack device is disclosed for easily identifying the user and improving their safety. The light up backpack device comprises a body component that is configured in a conventional backpack shape with a plurality of LEDs secured to an exterior surface.

Inquiry From
Contact Info
Phone: +1 000 000 0000
Detailed Description & Features
A light up backpack device is disclosed for easily identifying the user and improving their safety. The light up backpack device comprises a body component that is configured in a conventional backpack shape with a plurality of LEDs secured to an exterior surface. The plurality of LEDs are controlled with a Bluetooth remote control and can change colors and the pulse of the LEDs. The light up backpack device helps keep the user safe by illuminating them on the side of the road when waiting for a school bus or other ride. The device may also be made for others to improve their safety, such as hikers and motorcyclists, etc.