pet bird carrier device








pet bird carrier device
- Constance Tucker
- Patent Pending
Summary
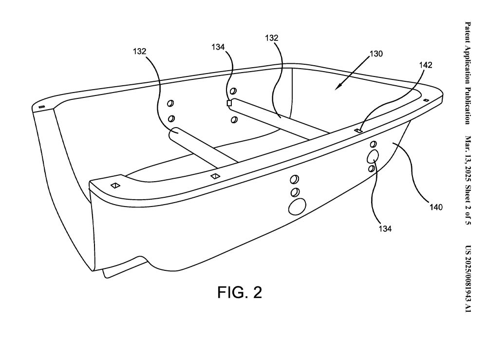
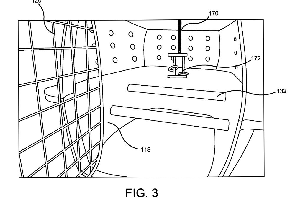
A bird pet carrier device is provided. The device is comprised of a pet carrier optimized for bird usage. More specifically, the carrier is comprised of a perforated body that does not allow a bird to chew on/through the body.

Inquiry From
Contact Info
Address: C Building, Orico Power Industrial Park, No.24 Tangjiao Road, Changping Town, Dongguan City, Guangdong Province, 523578,China
Email: Info@patent2poduct.com
Phone: +1 000 000 0000
Detailed Description & Features
A bird pet carrier device is provided. The device is comprised of a pet carrier optimized for bird usage. More specifically, the carrier is comprised of a perforated body that does not allow a bird to chew on/through the body. The device further has a door and lock that are reinforced to prevent a bird from destroying/opening the door or lock. In addition, the interior space of the device is comprised of at least one perch.