Protective Headgear Device










Protective Headgear Device
- Roger Albert
- Patent Pending
Abstract
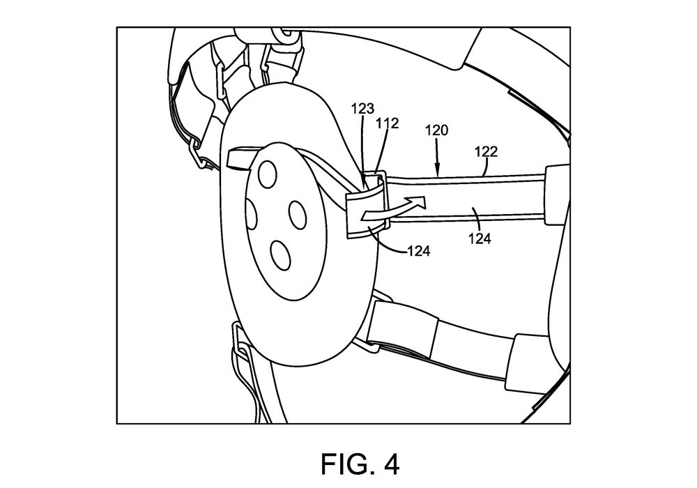
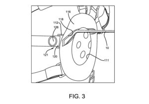
A protective headgear device is provided. The device is preferably comprised of two ventilated ear cups secured to a user’s head via at least one strap having a padded cover which provides comfort to a user’s head and also protects the user’s head from impacts.

Inquiry From
Contact Info
Phone: +1 000 000 0000
Detailed Description & Features
A protective headgear device is provided. The device is preferably comprised of two ventilated ear cups secured to a user’s head via at least one strap having a padded cover which provides comfort to a user’s head and also protects the user’s head from impacts. In addition, the ear cups may be comprised of cushions with recessed areas that may receive glasses arms, hearing aids, etc. The strap is preferably adjustable such that the device can be tightened/loosened on a user’s head.